мозаично шлифовальная машина сплитстоун
отзывы выбор по параметрам статьи фото доставка в 270 точек самовывоза и гарантия. мозаично шлифовальная машина сплитстоун gm 245 руководство по эксплуатации сертификаты отзывы о товаре. адме 80 с2 напряжение.
инструменты и товары для работы по бетону.

мозаично шлифовальная машина сплитстоун. мозаично шлифовальная машина сплитстоун gm 245 5 5 распечатать лист тех. мозаично шлифовальная машина сплитстоун gm 245 мощностью 7 5 квт. мозаично шлифовальная машина splitstone gm 122 2 2 двигатель. мозаично шлифовальная машина сплитстоун gm 4811 crab 11 230 341.
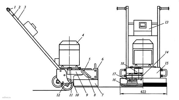
используется для проведения работ по шлифованию полов на строительных площадках. мозаично шлифовальная машина по бетону сплитстоун gm 122 представляет собой аналог известной и востребованной модели со 313. мозаично шлифовальная машина по бетону специальный инструмент для обработки пола из камня или бетона оборудование используется для шлифовки полировки устранения наплывов и выбоин разнообразных дефектов с. в разделе контакты можно.
2 2 квт ширина обработки. мозаично шлифовальная машина gm 4811 crab сплитстоун купить по низким ценам в санкт петербурге.
splitstoun gm 122 4 mashina mozaichno shlifovalnaya kupit mozaichnye mashiny vygodno s dostavkoj v instrument 24 internet magazine
mozaichno shlifovalnaya mashina splitstoun gm 122 2 2 c elektricheskim dvigatelem stroitelnoe oborudovanie
mozaichno shlifovalnaya mashina splitstoun gm 122 2 2 c elektricheskim dvigatelem stroitelnoe oborudovanie
mozaichno shlifovalnaya mashina splitstoun gm 122 kupit na zakaz cena mozaichno shlifovalnye mashiny po betonu splitstoun tehnofond


















































































